Explorations

This page presents notes on some hobby-radiocommunication explorations at amateur radio W9BRD.

Key topics: 6F7-Tube Regenerative Receiver (20251012) · Pentagrid-Converter-Tube Regenerative Detector/AF Amplifier (20251123)

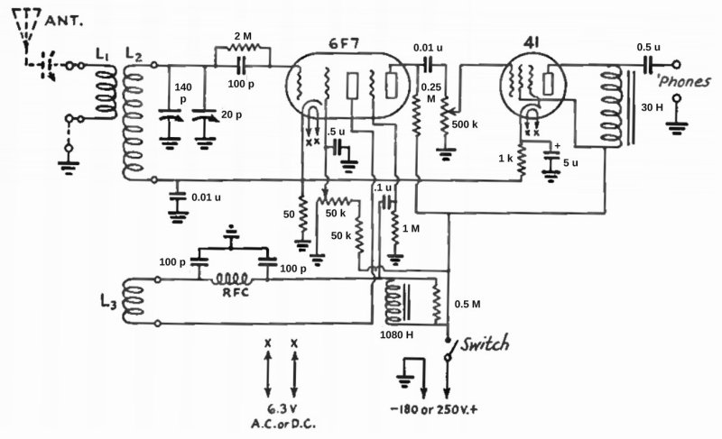
20251012: The 1936 ARRL Radio Amateur's Handbook included in its Receiver Construction chapter an odd regenerative-receiver design (Figure 1) based on the use of a 6F7 "dual-purpose" vacuum tube — a low-mu triode and a remote-cutoff, small-signal-RF-amplifier pentode in one envelope, sharing a common cathode — and a 41 power pentode (which in its octal version would later be known as the 6K6GT and in its 7-pin-miniature version would even later be known as the 6AR5) as an AF voltage amplifier. I recently constructed a good-performing variation on that design, using Hartley feedback instead of tickler-coil ("Armstrong") feedbck in its detector, and coupling antenna-system energy in at the detector cathode instead of via a link on the detector-tuned-circuit coil.

Circuit diagram of a three-stage (in two tubes) amateur radio receiver from the 1936 ARRL Radio Amateur's Handbook.
Figure 1—This "two-tube" receiver design from the ARRL's 1936 Radio Amateur's Handbook actually uses three stages: a 6F7 pentode as a regenerative detector with Armstrong (ticker coil) feedback; a 6F7 triode as first AF amplifier; and a 41 power pentode as an AF voltage amplifier. (Yes, this schematic of what is actually a simple circuit is badly laid out such that determining signal flow and stage function is a chore. That the original used component designators—cryptic, gotta-keep-referring-to-the-parts-list IDs like C2 and R8 instead of the actual capacitance and inductance values shown—made the jumble even harder to parse. My version, below, is easier to understand.)
Schematic diagram of the revised 6F7-41 receiver.
Figure 2—The "BRDized" 6F7–41 receiver reconfigures the detector as a Hartley; couples antenna-system energy to the detector cathode; and decouples the 6F7 and 41 cathodes for dc. Oh, and I use a resistive plate load for the detector—150 kΩ—rather than the unobtainium-in-2025-and-never-actually-necessary 1080-H choke specified in the Handbook writeup of the circuit, and a resistive plate load for the 41 instead of the 30-H choke.

I used the Hartley configuration instead of the original's tickler-coil feedback so I could use my existing BRD-80 regenerative receiver, with its compact, already-tunes-80-meters-as-I-want-it-to tuning head, as a basis for trying the 6F7–41 circuit rapidly. Because the BRD-80 receiver has space for only two tube sockets, I had to omit the grounded-grid-triode RF buffer amplifier I usually use between antenna system and detector. Instead, the Figure 2) circuit uses mismatch loss across a 20-pF capacitance to provide some passive buffering.

The circuit worked well from first power-up but was initially strongly microphonic, easily going into speaker-driven audio oscillation if I turned up the station amplifier/filter-box gain too high with the station speaker in use. The much-higher-than-necessary AF gain of the 6F7-triode/41-pentode pair was at least part of the basis of this, of course. The tacked-on 220-kΩ R from the 41 control grid to common in Figure 2 was my initial response to the problem, raising the onset of feedback to a higher gain-setting level by lowering net gain of the set's two-tube AF strip. But then I tried a different 6F7—one made by RCA instead of the Sylvania part I used first—and the set's tendency for microphonics-driven AF feedback vanished.

20251015: Note in Figure 2 above the use of a 41 power pentode as a voltage amplifier rather than a power amplifier—an approach taken, I assume, because a screen-grid tube intended only for small-signal amplification was found to be incapable of (sufficiently) driving headphones directly. The 41 works so well in that role—in my case, as a voltage amplifier with more gain than that achievable with one of the relatively low-gain pre-octal triodes—that I tried the same idea in the last stage of my 6A7 converter|37 RF buffer|36 Hartley detector|37 AF amplifier superhet, substituting a 38 power pentode for the design's second 37 triode will similarly good results. The only change relative to the Figure 2 implementation was to cathode-bias the 38 with 1100 Ω instead of the 680-Ω R used with the 41.

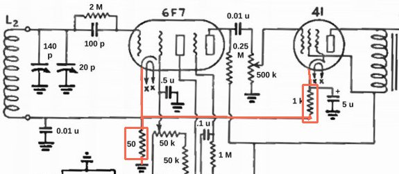
20251017: But back to evaluating the behavior of the Figure 1 circuit and my Figure 2 variation thereon: I'm nearly convinced that there's something wrong with the design or manufacture of the 6F7 tube itself. Our first clue to this is the strange participation of the 41's cathode current in biasing the 6F7 (Figure 3):

6F7-41 receiver schematic detail showing intercnnection of the 6F7 and 41 cathode returns.
Figure 3—From our first look at the 6F7–41 circuit, we notice the strange participation of the 41's cathode current in biasing the 6F7. The Handbook explanation of this arrangement superficially satisfies—until we experience how the circuit actually behaves in practice.

From the circuit's Handbook writeup:

It will be noticed that the d.c. grid return of the 6F7 pentode section is to the cathode terminal of the socket. This is necessary to provide bias for the triode (audio) section of the tube, derived from R2 [the 50-Ω resistor in Figure 3]. The bias for the 41 is taken through this resistor, as well, in order to hold the 6F7 bias fairly constant despite the cathode current variation in that tube due to the plate current changes with detection.

Neglecting for now the fact that the above does not fully describe for those not well-versed in vacuum-tube biasing how the Figure 3 arrangement operates to bias the 6F7 triode and pentode sections differently, might some practical, behavioral issue have driven the inclusion of that cross-biasing and the hand-waving-class description of its necessity and operation? What possible defect, perhaps an unwelcome discovery during initial operation of the circuit, might have suggested to its originator that such elaboration was necessary? ("Plate current changes with detection" are, in effect, merely a form of noise—so why not just add across the 0.01-μF bypass cap on the cathode line an AF-appropriate electrolytic bypass cap to shunt that noise to common, stabilize the 6F7-triode bias, and keep the tubes' cathode circuitry separated?)

As soon as my initial "Cool—it works" impression wore off—after I first solved the set's microphony problem reducing the AF-strip gain and then finding that only my Sylvania-made 6F7 was microphonic and my RCA 6F7s weren't such that I switched over to using an RCA 6F7"as I kept fiddling with my operating Figure 2 implementation, I encountered a problem: The 6F7 triode was noisy—continuous-frying/fizzing/popping-class noisy, noise that was all-too-noticeable even beneath and within my antenna system's high noise floor at 80 meters. All three of my RCA-made 6F7s exhibited the problem; the overly-microphonic Sylvania 6F7 stayed in its box.

20251019: Multiple experiments proved that the noise was confined to the 6F7 triode section. With AF drive from the pentode detector disconnected from the triode, the triode was still noisy—even with the set's REGENERATION control turned all the way down (pretty much factoring out detector-cathode-current variations as the noise source). The noise continued unchanged with the triode's control grid shorted to common. Shorting the 6F7 cathode to common; biasing the triode with a 1.5-V dry cell; powering the 6F7 cathode from a floating (unconnected to common) 6.3-V ac supply—no change in the noise. I briefly rebuilt the circuit with a 6AZ8 subbed for the 6F7—noise gone. I briefly bolted one ear of an octal socket to the receiver tin and flying-wires-connected in a 6C5, its cathode connected to the 6F7 cathode and its heater in series with the 6F7 heater for heating from the set's 13.5-ish-V dc heater supply, as a substitute for the 6F7 triode. Noise gone. And feeding the 41 AF amplifier directly, the 6F7's remote-cutoff pentode operating as regenerative detector proved itself to be frying/fizzing/popping-noise-free.

(At about this point, having proven both that the 41 as voltage amplifier worked well and then some, and that the detector was usable even with direct antenna-system feed via that 20-pF capacitance to its cathode, I removed the 41, replaced its 6-pin socket with an octal socket, and reinstalled my standard dual-triode-based one-triode-as-RF-buffer-and-the-other-as-first-AF-amp circuitry—this time with a 12AH7GT instead of a 6C8G or 12SC7.)

Schematic diagram of 12AH7GT twin triode serving as RF buffer amplifier and AF voltage amplifier.
12AH7GT octal twin triode as grounded-grid RF buffer amplifier/impedance converter and AF voltage amplifier.

20251020: With the circuit's more-gain-than-I-really-need 41 pentode replaced by one of the 12AH7GT's mu = 19 triodes, I decided to re-try my one addtional 6F7: the overly-microphonic Sylvania part that I used when first trying the circuit. Frying/fizzing/popping gone!

20251022: So why not also try going back to the 6F7–41 lineup, this time with a few tweaks based on lessons learned with the Figure 2 lineup?

Revised 6F7-41 receiver schematic showing component changes for improved operation.
Figure 4—A few revisions (red values) to the Figure 2 6F7–41 circuit make it work even better. (Blue changes were incidental to experiments I did in the meantime; I left them in place. The 72-V line was regulated from the beginning, but I call out its regulatedness here to emphasize the importance of powering the detector from a regulated source for better stability.) Reducing the antenna-coupling C from 20 pF to 10 pF still allows my antenna system's noise floor to override the detector's noise floor at 80 meters while further isolating the detector from the antenna system as load. Redistributing the reduction of the design's AF gain (red Rs associated with the AF-amplifier stages) practically banishes speaker-driven AF oscillation that easily occurred with the Figure 2 circuit. (And maybe happening to use a different, possibly less microphonic 41, which this time around is now enclosed in a large shield can, helped.)

So now some detail on how the 6F7's pentode and triode are actually biased. Yes, from the ARRL Handbook writeup on the Figure 1 circuit, we do have

It will be noticed that the d.c. grid return of the 6F7 pentode section is to the cathode terminal of the socket. This is necessary to provide bias for the triode (audio) section of the tube, derived from R2 [the 50-Ω resistor in Figure 3]. The bias for the 41 is taken through this resistor, as well, in order to hold the 6F7 bias fairly constant despite the cathode current variation in that tube due to the plate current changes with detection.

but the second sentence of that passage is actually a non sequitur, as the point of connecting the 6F7 pentode's grid return to the tube's common cathode is to make the pentode's grid-leak-based bias independent of the triode's cathode-resistor-based bias—not to make the triode's bias independent from the pentode!

Control-grid bias is a relative voltages proposition: To bias a grid negatively, we can either connect it to a source of negative voltage such that it's more negative than the cathode, or we can make the cathode more positive than the grid, thereby making the grid relatively more negative than the cathode. The most common means of achieving such cathode bias is to insert a resistance between the cathode and common such that current flow through the tube causes a voltage drop across the R, thereby raising the cathode above common and making it more positive than the common-referenced grid.

The Figure 3 biasing circuit looked strange to me from the first time I saw it, and it looked even stranger when I read the Handbook's unsatisfactory explanation of the reason for its inclusion and its supposed operation. Really: If cathode-current pulses from the 6F7 pentode—which will not be strong, considering the low plate and screen voltages at which the pentode operates—somehow did cause noise or distortion traceable to same in the output of the Figure 1 circuit, the fix would be simple: Just connect several tens of microfarads in parallel with the bottom-of-the-tuned-circuit 0.01-uF RF-bypass cap and the 50-Ω bias R to shunt that noise to common! And while we're at it, modify both circuits such that the 6F7 has its own triode-appropriate, suitably-bypassed cathode-bias R (2.2 kΩ will work fine, also, in effect, making a tens-of-microfarads AF bypass across it work even better), and then connect the common end of the 41's cathode-bias R to common as it should be. The voltage drop across that 6F7-stage triode-appropriate R will be higher than "triode-caused only" because the pentode's combined plate and screen currents contribute to the drop, but, most critically, the voltage drop across any 6F7-stage cathode-bias R present in Figure 1 and Figure 3 circuits won't affect the pentode's bias because its grid-bias R is returned directly to the cathode. Because the pentode's grid R is returned directly to the cathode, "above" our triode-appropriate cathode-bias R, as it were, any voltage drop across that R merely subtracts from the pentode's plate and screen voltages by raising their reference above common. The pentode's bias is affected by neither the 50-Ω R in Figure 1 nor the 2.2-kΩ R in Figure 2.

In practice, the Figure 2 circuit (as further evolved to the Figure 4 circuit) works fine. Whatever the real or imagined resultants of "cathode current variation in [the 6F7] due to the plate current changes with detection" may have been, I haven't heard any across many days of using the Figure 4 circuit for listening and for two-way Morse communication. (Along the way I did further modify the set by replacing the 41 with a 38 for more-straightforward seriesing of the tubes' heaters across 13.5 V regulated dc, and to reserve the 41 for use with my RAL-5 Navy regen.)

It occurs to me to question why the 6F7–41 circuit was included in the ARRL Handbook at all. From experience I and many other hams with regenerative-receiver experience know that a screen-grid detector followed by just a medium-mu triode's worth of AF amplification provides more than enough gain for basic, practical reception even for two-way work, on lower-frequency ham bands. Here the 6F7 unfortunately cannot quite serve sufficiently well on its own because of the miserably low mu (8) and transconductance (0.5 mS) of its triode section—hence the need for one more stage of audio amplification. So why use one? I suspect that free ARRL Lab tube stock provided by a manufacturer—likely RCA, at least—drove "see what you can do with it"-class exploration. Whatever, the 6F7–41 "advanced" receiver appeared only in the 1936 ARRL Handbook and did not return in the 1937 edition.

20251123: Preceding the well-known "Super Gainer" regenerative-receiver-fronted-by-a-frequency-converter superheterodyne (September 1935 Radio) by more than a year, "The 3-Tube Economy Superheterodyne," by Radio contributing editor George B. Hart, W8GCR, in the magazine's July 1934 issue, used two 2A7 or 6A7 pentagrid frequency-converter tubes, the second of which implemented a two-stage regenerative receiver within one 2A7/6A7 (Figure 5):

Image of complete July 1934 Radio magazine article describing the Hart 3-Tube Economy Superheterodyne.
Figure 5—Complete article describing the Hart "3-Tube Economy Superheterodyne" from the July 1934 issue of Radio magazine. (For reasons unknown, Radio in that era commonly did not include radio amateur authors' call signs in their bylines; I had to do considerable searching to determine that "George B. Hart" held W8GCR.)

Here's that schematic again (Figure 6) with connection dots added for clarity, plus (red-boxed ground) my addition of a critical-to-operation connection that was omitted in the original diagram.

Schematic diagram of the Hart superheterodyne receiver corrected to include a critical missing common connection.
Figure 6—Schematic diagram of the Hart superheterodyne receiver corrected to include a critical missing common connection.

The frequency-converter 2A7/6A7 stage in Figure 6 is standard. The detector-plus-first-audio 2A7/6A7 stage—actually two stages in one—is not. So of course I just had to try it at W9BRD!

Here's my successful implementation (using the later, electrically-equivalent 12A8GT octal version of the xA7) of Hart's detector/AF-amplifier circuit (Figure 7), modified to operate at 160 meters and drive the W9BRD AF amplifier/filter box instead of headphones as in the original:

Schematic diagram of the W9BRD mplementation of the Hart pentagrid-mixer regenerative detector and audio amplifier.
Figure 7—Schematic diagram of the W9BRD implementation of Hart's pentagrid regenerative detector/AF amplifier circuit.

The circuit works so well that it's now serving as detector and "first audio" in my BRD-160CC receiver (https://forums.qrz.com/index.php?threads/w9brd-goes-full-brd-by-building-a-160-meter-coffee-can-regen.938709/).

Some notes:

Issues of Radio are available from the World Radio History page at https://www.worldradiohistory.com/Radio_Magazine_Guide.htm. I consider Radio from the 1930s and 1940s to be required reading for those with a strong interest in ham-radio history.

20251216: Experience with the Hart 12A8 detector/AF-amplifier circuit found me wanting to somewhat reduce its AF output, so I increased the AF-drive decoupler/voltage-divider-top resistor from 470 kΩ to 2 MΩ (Figure 8):

Partial schematic diagram showing upper AF-amplifier input voltage-divider R increased to 2 megohms from 470 kilohms to reduce AF amplifier drive.
Figure 8—Increasing the circuit's upper AF-voltage-divider R to 2 MΩ moves the AF-amplifier control-grid tap further down on the fixed AF-drive potentiometer between the detector and AF-amplifier portions of the 12A8 tube, decreasing drive to the AF amplifier.

20251224: I've long had push-pinned to an operating-desk upright an inspirational QST "Correspondence from Members" letter about build-it-yourself ham radio (Figure 9). Somewhat tarnishing its luminosity was my discovery on encountering a scan of an early W4TNF QSL (Figure 10) that his "homebrew 807" was possibly a kit at best (in his own words, a Millen 90800, that company's commercialization of a 1940 build-it-yourself design by ARRL HQ staffer Don Mix, W1TS) and his "homebrew 6146 driven by a tri-tet 5763 oscillator" may have been a Millen 90801 (which used a Colpitts oscillator, not a tri-tet, and was designed by ARRL Technical Director George Grammer, W1DF). A kit and semi-kit does not qualify as "homebrew," a traditional ham-radio equivalent term for homemade.

Image of September 1984 QST Correspondence from Members 'No-Budget Hamming' item.
Figure 9—The inspirational "No-Budget Hamming" July 1984 QST "Correspondence from Members" letter by James O. Chatham, W4TNF. Yes, 6AL5 should be 6AQ5—a "Strays" item adjacent to the article to which Chatham responded described a simple 6AQ5-crystal-oscillator transmitter; the 6AL5 is a double-diode tube incapable of oscillation-supporting gain—but a point of order: At least the "homebrew" 807 transmitter Chatham used was not homemade, but a Millen commercialization of a QST "build your own" design, as Figure 10 tattles.
Image of W4TNF QSL card from 1954.
Figure 10—Early QSL card from (and by) James O. Chatham, W4TNF, who would 30 years later refer to that Millen 90800 transmitter as a "homebrew 807."

20260606: The 6EZ8-based converter in my Super 3-in-9 receiver was based on Figure 11:

Schematic diagram of three-vacuum-triode frequency converter.
Figure 11—The original Super 3-in-9 mixer was based on the unusual 6EZ8 triple triode.

The temptation to fiddle with stuff being what it is, a few months ago I solid-stated the above circuit by replacing all of its triodes with 2N5951 JFETs (and changing a few R values, and powering the circuit from 12 V (well, okay, 13.2 V) instead of "high voltage"). And it worked well enough, at least at 80 and 40. But . . .

. . . the urge to fiddle being what it is, this past week I replaced the circuit with a 2N5951-NE602 substitute (and built out a discrete-devices crystal oscillator, as I didn't like how sensitive the NE602's one-BJT onboard oscillator was to crystal Q—something I could probably have fixed with further attention paid to Colpitts-feedback Cs, but didn't).

Here's the result (Figure 12); it works fine.

Schematic diagram of 2N5951 JFET RF amplifier driving SA/NE602AN IC Gilbert Cell mixer.
Figure 12—NE/SA602 mixer fronted by 2N5951 JFET RF amplifier.

For the casual operating I do, the gain-distribution adjustments made possible by the receiver's IF GAIN control (between the mixer and the set's regenerative detector); my stand-alone AF amplifier/filter box's AF GAIN control; and the SIGNAL LEVEL control in my stand-alone RF-attenuator/crystal-calibrator box (in the "50-Ω" line between the converter's input link and station the TR switch) have kept the thing (with its very modest IMD dynamic range) overload-free so far. The circuit's Pierce oscillator is sufficiently active such that all crystals I've tried in the circuit so far oscillate well, even those few (a few WW2-era FT-243s) that wouldn't go with the inboard-to-the-602 oscillator I threw together.

As the Super 3-in-9's design requires, "crystals I've tried" means "crystals that bring a given band/segment of interest down to the 3- to 3.15-MHz range."

The "RF AMP" 2N5951 JFET is really there not so much as an amplifier as an impedance converter, and to introduce a hi-Z tunable circuit that supports/allows/requires the kind of real-time interaction with resonance that I like as I tune the bands. (The input Z of one side of the 602's balanced-input pair should be about 1.5 kΩ; that there's some mismatch loss between the JFET source and the 602 input is a good thing.)

One interesting difference between the Figure 11 and Figure 12 circuits is that the 150-kΩ R between the Figure 12 circuit's crystal oscillator and oscillator amplifier results (in conjunction with the bypassing effect contributed by the 220-pF Pierce-feedback C to common from the right-hand side of the R in the drawing) much less transmit-signal leakage than with the three-vacuum-triodes circuit (for which I shielded the crystal with a can to keep my transmit-monitor signal controllable). The increased oscillator-to-mixer isolation in my new circuit has me thinking up ways to increase my monitor signal a bit. Removing the crystal's shield can, even grabbing the crystal with one hand as I send, doesn't much increase my monitoring-signal level with the Figure 12 circuit. It's a good problem to have.

Used the updated Super 3-in-9 as I acted as NCS for this morning's Vintage Radio Brass Pounders net at 7092 kHz (9 A ET)—smooth.


Revised February 8, 2026 CE. Copyright ©2026 by David Newkirk (DavidNewkirk@gmail.com). All rights reserved.
home